We could be days away from Apple shocking the world AGAIN
with the “ultimate mobile device”…
Launching ONE stock into orbit… with just four simple words:

Dear Smart Investor,
In a matter of days, Apple CEO Tim Cook could walk out on to the stage in front of a crowd of cheering fans…
Like he’s done every year for the last decade…
Except for one HUGE difference.
Because this year, just four simple words from this man could unlock your shot at a $190,717 fortune…
“Introducing… The Apple Car.”
The moment he makes this bombshell announcement, I expect it to hit the headlines across the world.
And I expect thousands of investors will make a mad dash to snap up Apple’s stock…
Unfortunately… rushing into Apple is like stepping over dollars to pick up dimes.
They’ll be missing out on the real opportunity that’s hiding in plain sight…
Because the BIG winner — shockingly — won’t be Apple.
Follow my lead today… and by the time the Apple Car rolls across the stage, your shot at multiplying your money up to 20X will be locked and loaded…
All you’ll have to do is watch the profits pile up.
It’s all courtesy of one tiny company led by a genius CEO with a “laser focus” on exponential growth.
Hardly anyone has heard of this incredible company… yet.
But give me the next few minutes of your undivided attention…
And I’ll clue you in to the “tiny titan” that could put you on your way to a six-figure fortune the moment this bombshell news breaks.
To be frank, this could be the investment of the decade (for many it could be THE investment of a lifetime)…
And this profit opportunity has been a long time coming.
For years, I’ve obsessively tracked the Apple Car.
It all started back in 2015 when The Wall Street Journal broke the news that Apple was working on a secret electric car project…
Code named Project Titan.

Then Apple COO Jeff Williams told Vox that…

Then news broke about the secret “Apple Car labs”…


Later it was revealed that major players from the auto industry were working on the Apple Car, including high-profile hires from Mercedes-Benz, Porsche, and BMW…



Apple even secured a secret test track on a military base…

For nearly 7 years, they’ve been quietly working on the Apple Car.
To some that might seem like a long time to design and manufacture an electric car…
But don’t forget, Apple ALWAYS likes to show up fashionably late with a new product.
Case in point: Blackberries, Palms, and other smartphones were common long before the first iPhone…
Tablets existed well before Steve Jobs introduced the first iPad in 2010…
And I’m sure you can probably remember being impressed by those early mp3 players with the whopping 12-song capacity before the iPod came along and put “a thousand songs in your pocket.”
Simply put: Apple takes an existing idea, waits until it’s absolutely certain the world is going mad for it…
Perfects it…
And releases it with a flourish that whips their raving fanbase into a frenzy… all but ensuring record sales.
And with the popularity of electric vehicles skyrocketing…

Now is the perfect time for the Apple Car to finally hit the road.
After years of toiling away in secret, Apple recently made waves when it came to light that they had initiated talks with multiple major car manufacturers to BUILD the Apple Car.



Long story short: In a matter of days, Tim Cook could send your brokerage account into overdrive… with four simple words.
Because when you break down the numbers, the Apple Car could easily be their most profitable product EVER…
Yes, even better than the iPhone.
Just take a look:

With $10 trillion up for grabs…
Apple only needs to make a tiny dent in the automotive market to match the iPhone.
And it could go up from there.
For you, that boils down to a profit opportunity that could turn a $10,000 stake into a $190,717 payday.
But before you start imagining the new boat you could buy with that kind of scratch…
Or the brand-new Rolex…
Or the vacation to Italy (flying first-class, of course)…
Let me make one thing perfectly clear…
I know that sounds weird considering that Apple has been one of the most profitable companies ever…
And look, there’s no doubt the Apple Car has tremendous money-making potential.
In fact, based on research from Morgan Stanley, the Apple Car could add $200 billion to Apple’s top line.
That’s a 72% increase…
And even if that increase in sales directly translates to an equal gain in the share price…
I’m not writing to you today to help you bank a meager 72% gain.
Instead, the opportunity I’m going to show you today could grow your money 20-fold.
Dollar for dollar the answer is clear:

So how do you get in on one of the biggest tech plays EVER?
One that could hand you up to $190,717 in the weeks and months to come?
You have to dig deep inside the Apple Car.
I mean that literally.
Because like every iGizmo they make, Apple will rely on outside companies to supply many of the critical pieces that make up the Apple Car.
And history has shown that investing in Apple’s suppliers is often one of the most sure-fire ways to bank MONSTER profits.
Take Murata Manufacturing for example…
They make electronics components for the iPhone and since becoming an Apple supplier, the stock has jumped 385%.

That’s not a bad way to multiply your money nearly 5-fold.
But it’s not the only Apple partner that’s profited wildly… and far from the biggest.
Case in point: Cirrus Logic makes audio chips for Apple products. Since becoming an Apple supplier, the stock has climbed 479%.

Not to be outdone: STMicro, the critical chip maker for the iPhone has surged 499% since getting tapped by Apple.

Nearly a six-bagger!
And that’s just a warm-up.
Let’s take a look at the semiconductor company NXP.
They make hardware and software for Apple products.
And since becoming a supplier, NXP’s stock has gone on a 1,067% tear.

Last but not least, take a look at Skyworks.
They make short range communications chips for the iPhone.
Since getting tapped by Apple.…
Skyworks’ stock has skyrocketed 2,479%.

This surge in Skywork’s stock alone could have turned $1,000 into $24,791.84.
Now of course, not every Apple supplier will hit those kinds of highs…
And it goes without saying that every investment comes with risk.
Which is why you should only invest money that you can afford to lose.
But these exceptional examples show you the kind of profits at stake with this opportunity today..
Because I believe I’ve identified the most important supplier for the Apple Car.
A tiny company that makes the ONE component that transforms the Apple Car from just another expensive toy…
To a technological marvel that could change how you and I drive FOREVER.
I realize that might sound like a load of hype.
But give me the next few minutes and you’ll see for yourself why I believe this tiny company is the vital piece to the Apple Car puzzle.
That’s because…
Like the iPod wasn’t just another MP3 player.
And the iPhone wasn’t just another smartphone.
I’m certain the Apple Car will be unlike anything we’ve ever seen before.
Based on Apple’s history of making show-stopping products, I believe the design of the Apple Car will turn heads.
And if the team at Apple follows Steve Job’s #1 rule — to keep things simple — the car will be super easy-to-use with one of the best driving experiences ever.
But there’s one element of the Apple Car that will elevate it from a well-designed, easy-riding vehicle…
To a blockbuster new automotive experience that people will camp out days on end for… just for the chance to take one home.
See, the Apple Car will also attempt to tackle one of the biggest problems every car company has failed to solve since the first car rolled off an assembly line…
One that claims the lives of 1.3 million people every year.
That problem is simple:
Cars crash.
And to end car crashes, that means Apple will need to remove the source of this deadly problem…
The driver.
In other words…
According to The New York Times, early-stage designs didn’t have a gas pedal.
And Silicon Valley magazine, The Information, revealed the initial Apple Car designs didn’t even have a steering wheel.
Reports have been pointing towards a self-driving car since the early days of Project Titan.



And this isn’t the kind of “self-driving” you can get in a Tesla…
The kind that Car and Driver reported “requires drivers to make regular steering-wheel or control inputs.”
And the Apple Car will be nothing like Waymo’s self-driving minivan that looks like a spaceship crash landed on top.

I’m talking about a show-stopping, true self-driving car.
Imagine…
Placing a few trades in your brokerage account, while your car takes you to your doctor’s appointment …
Or watching Game 7 of the World Series on the highway as you unwind after a long day, while your car fights through rush hour traffic for you…
And road trips will never be the same…
Imagine stretching out in a luxurious seat that hugs you like a cloud. You could catch up on the news, watch a movie, or take the best nap of your life…
All while your car makes the 3-hour drive to visit your grandkids.
Now I realize a future with self-driving cars might seem like something from science fiction.
But here’s the thing…
Not long ago, if I told you that we’d all be walking around with supercomputers in our pockets…
You would have thought I was crazy.
Then, Apple released the iPhone and changed everything.
It didn’t take long for practically everyone to have a smartphone in their hand.
The bottom line is Apple has the power to turn extraordinary ideas into incredible everyday products that frankly, most of us take for granted.
I mean, for most of us, our smart phones are never out of arm’s reach.
It can be hard to remember what it was like before we had access to the entire world at our fingertips.
My point is, from the Apple II to the iPhone, Apple has a 45-year track record of changing the world..
And right now…
With Apple racing to get their latest mobile masterpiece off the line…
Here’s the line after the original iPhone was released…

Imagine how long it will be when they start taking orders for a car.
Put simply, I believe we’re at a turning point in the history of automobiles…
One that could hand smart investors a gigantic windfall.
And while the Apple Car will likely go down in history as the self-driving car that changed everything…
There’s only ONE incredible company that can make the self-driving Apple Car a reality.
Like I said, it’s not Apple.
But as you’ll find out in a few moments, I believe Apple will soon be begging for this company’s technology.
Because…
And to say this company is in the driver’s seat would be the understatement of the century.
Years before Steve Jobs dreamed up his four-wheeled supercomputer, the CEO of this tiny company was already hard at work making self-driving cars a reality.
The company already has a fortress of 137 patents (and counting) that protects its competitive advantage.
Not to mention, at this moment, their list of strategic partners include the “who’s who” of the auto world, including:
Just to name a few.
It could be just a matter of days before this tiny company drops a bombshell announcement that they’ve signed their most impressive partnership yet…
With none other than — you guessed it — Apple.
Plain and simple…
Without this company’s breakthrough technology, the Apple Car would be nothing more than just another expensive electric car.
But with it, the Apple Car, along with this company’s stock price, could take off.
I’m talking about a potential 1,907% surge!
That’s enough to turn $1,000 stake into $19,072.
$5,000 into $95,358.
And $10,000 into a massive $190,717 windfall.
Now, if profit potential like this interests you, then… fair warning.
You must act fast.
Because…
Based on my research, we could see reveal the Apple Car, for the first time, in front of a frenzied crowd at Apple HQ in California.
When it does, the world will get the first glimpse of Apple’s most important supplier ever…
The linchpin “laser vision” company that transforms the Apple Car into a self-driving marvel.
Once the news breaks that this tiny company is the sole provider of this linchpin “laser vision,” I expect to see them go from relative obscurity to front page news…
And early investors (that could be you) who take action TODAY, will have the opportunity to get launched on the path to a staggering six-figure payday.
Better still…
You don’t need to know the first thing about cars or technology.
There are no special investments, either.
This is a dead simple buy-and-hold stock play.
All it takes is a few minutes of your time…
A few clicks (or a simple call to your broker) to stake your claim…
And the good sense to ACT FAST.
I’d like to give you all the details so you can make your decision today.
Sound good?
Well then let’s get started.
Hi, my name is Jim Pearce.
I’m the Chief Investment Advisor here at Investing Daily.
And yes, I’ve been following the Apple Car like a hawk for the past 7 years.
You might call that obsessive.
But for the last 37 years, it’s been my job to be obsessive about big moving investment opportunities.
It all started when I was managing the money of Fortune 500 executives and other “high net worth” individuals.
The kind of investors who call doubling your money in a week “a nice start.”
At one point, I had over $50 million dollars under my direct control.
All of it entrusted to me for one purpose: To pick the BEST stocks on the market so my clients could live the retirement of their dreams…
And boy, were they demanding!
I became the kind of guy that enjoys reading 250-page earning reports…
Combing through hundreds of press releases…
And quadruple-checking financial models.
No stone was ever left unturned.
And while I stop working with “Big Wig” clients years ago…
I’m still the same painstakingly detail-oriented investor.
(Old habits die hard.)
But today, I have the honor of working with a group of financial experts just as dedicated to investing as I am.
Now we have the opportunity to help every day, hard-working Americans grow their nest eggs…
By uncovering explosive investment opportunities that most investors overlook.
And the results have been staggering.
How staggering?
We currently have open trades piling up gains of 153%, 216%, and even 474%.
Better still, we recently closed out a recommendation on Daqo New Energy for a MASSIVE 1,002% gain.
Then just two weeks later, we closed our trade on EXP World Holdings for an astonishing 1,422% gain.
The recommendation on EXP alone is enough to turn a $1,000 stake into a $14,220 profit.
$5,000 into $71,100.
Or $10,000 into $142,200.
All from a single, ordinary stock trade.
And while these gains are exceptional…
They go to show you the kinds of monster money-making opportunities we’re capable of uncovering…
The exact same kind of profit opportunity I have in store for you today.
With the $10 trillion car market up for grabs…
The Apple Car could unleash one of the biggest profit surges in history… but remember… the REAL profits won’t come from Apple.
In a few moments, I’ll reveal who I believe will be the REAL winner from the release of the Apple Car…
The tiny company that could hand you a 6-figure fortune.
But first…
To understand why this opportunity is 7 years in the making…
Why NOW is the time to stake your claim…
And more importantly, why this “laser vision” stock could be just days away from taking off…
You need a brief rundown of Apple’s “Project Titan.”
(Don’t worry I’ll make this quick.)
In fact, I’m going to give you…
Now, like every ambitious idea from Apple, the Apple Car came directly from the mind of Steve Jobs over a decade ago…

And although Project Titan didn’t kick off until 2014…
Apple made up for the lost time.
A team of 1,000 of the brightest minds, including some high-profile hires from Mercedes-Benz, Fiat Chrysler, Tesla, and Porsche…




The Project Titan team got down to work in not one but TWO secret Apple Car labs…
One in Sunnyvale, California…

And the other in Berlin, Germany.

Inside the secret car labs, the Project Titan team was cooking up an automotive masterpiece unlike anything the world had ever seen.
The Guardian even confirmed that the Apple Car would be completely self-driving…

The New York Times later reported that the Apple Car would come without a gas pedal or a steering wheel.
And it would be loaded with all kinds of futuristic gizmos…
From virtual reality headsets for passengers to spherical tires.
It looked like the Apple Car would roll off the line in record time, with the Wall Street Journal reporting:

In an interview with Bloomberg, Tim Cook said:

Translation: Apple was changing gears from making a self-driving car…
To making the software for self-driving cars.
Not long after, Apple released a paper on self-driving systems that ended up being about their software.
And then the Silicon Valley giant acquired a small self-driving car company called Drive.ai…
Just to poach the lead software engineers.
As Business Insider put it:

The Apple Car seemed like another incredible tech promise that withered on the vine… and for years the hope of an Apple car fell by the wayside.
That is… until Reuters made waves with this shocking headline:

But the breaking news didn’t stop there.
Apple was looking for a car manufacturer to BUILD the Apple Car.
They approached Hyundai…

Nissan…

And the contract car manufacturer Magna…

At the same time word got out that Apple hired Porsche VP of chassis development, Dr. Manfred Harrer.

Then Apple hired Ulrich Kranz, a former senior executive at BMW AG’s electric car division.

The idea of an Apple Car roared back to life.
And while we’re still likely a few years away from having one parked inside your garage…
Look, you could wait to make your move until the Apple Car rolls off the line…
But by then, I’m certain the 1,907% profit opportunity I’ve uncovered will have passed you by.
According to my research, the Apple Car could be revealed any day now.
And more importantly, I’m certain when it does, we’ll get our first look at what could be Apple’s most important partner ever…
After all, this revolutionary company provides the linchpin technology that turns the Apple Car into a self-driving marvel.
However, Apple isn’t going to outright announce this new partner (why make things easier for their competitors?)…
But it won’t take long for savvy investors to put two and two together and send their stock surging.
Which means we could be just days away from this little-known company taking off on one of the most astonishing profit runs in stock market history.
And early investors could pocket monster fortunes in the weeks and months to come.
The bottom line?
This opportunity is coming… fast.
And if you want to lock in your shot at profits… the time is NOW.
Here’s why.
It’s common for big car companies to show off the prototype of a new vehicle years before the scheduled launch date.
For example, in 2017, at the Chicago Auto Show, Ford announced that it would revive the Ford Bronco and that the SUV would hit dealerships in 2020.

In November 2019, Tesla unveiled the prototype for the Cybertruck, two years before the pickup was scheduled to hit the market.

And in July 2021, Dodge teased its first all-electric muscle car that’s due for release in 2024.

The point is it wouldn’t be a surprise for Apple to reveal their car years before the 2024 production target.
But there’s an even simpler reason the time is quickly ticking down to the big Apple Car reveal…
Recently, Dan Ives from the hedge fund Wedbush told CNBC…
“To get a car out by 2024… [Apple] needs to lay out the vision of the 2 years plus to get the [car] out.”
He later went on to say…

In other words…
That makes sense.
Unlike computers and smartphones, cars are nearly impossible to keep secret.
See, before the Apple Car can go into production, it will undergo on-road testing…
Which means the Apple Car could be coming to a city near you.
And it will be super easy to track down.
It’s all thanks to this tool created by The National Highway Traffic Safety Administration.

It allows anyone “to find information about on-road testing of [self-driving] vehicles in 17 cities throughout the United States.”
All it would take is a simple search for Apple…
And the Apple Car’s on-road testing would pop up on the map.

Which means, no matter how hard Apple tries to keep the Apple Car a secret…
Every ambitious journalist with a camera looking for the biggest scoop of their life will find the Apple Car…
And leak it for the world to see.
Do you think Apple will leave the reveal of the Apple Car — one of the most pivotal products they’ve ever created…
In the hands of a few “fanboys” with high-powered zoom lenses?
I doubt it.
After all, since the launch of the Macintosh computer 37 years ago…
Apple has turned every new product reveal into a live, on-stage spectacle.
And for the reveal of the Apple Car…
I’m predicting they will put on one of the biggest spectacles in Silicon Valley history.
In front of a frenzied crowd, the first prototype of the Apple Car will drive across that stage.
And when it does…
While there are numerous ways to profit from the Apple Car…
The opportunity I’ve identified has the potential to outpace them all.
This tiny company I’ve uncovered makes the critical “laser vision” technology that the Apple Car absolutely needs to have any hope of success.
Without it, the Apple Car will be just another expensive electric car.
But with it, this groundbreaking new vehicle becomes a self-driving marvel that could change how you, I, and millions of other Americans move around the country.
And right now, you have a genuine chance to stake your claim before the masses drive its stock through the roof.
Because only 9 out of 6,000 Wall Street analysts are currently covering this stock.
But don’t just take my word for it… let me show you just how important this company could be to the future of Apple..
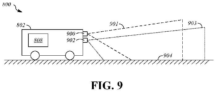
Scientists call it Light Detection and Ranging or LIDAR for short.
Here’s how it works.
See that thing that looks like a KFC bucket on top of the car?

That’s a LIDAR sensor.
The sensor shoots out invisible laser beams that bounce off of objects around the car…
Like other cars, pedestrians, or a mattress on the highway that some poor soul failed to tie down properly.
The laser beams then bounce back to the sensor which create a 3-D image that looks like this:

You see, there are two other technologies that help cars “see.”
The first are cameras.
For example, the Tesla’s self-driving system uses a complex system of cameras placed on the outside of the car.
And on the surface that makes sense.
After all, if the cameras can see… then the car can see, right?
Plus, cameras are cheap, which is a big benefit for self-driving car makers that want to keep costs down.
But here’s the thing…
Cameras only allow the car to see 2-D images.
In other words, a camera can see a deer that jumped in front of the car…
But it doesn’t know how far away the deer is.
Without knowing how far away the deer is…
The car can’t make the necessary evasive maneuvers in time.
Which means, odds are… Bambi is going to end up in the seat next to you.
Now, there are self-driving car companies, like Tesla, that are using software to convert 2-D camera images into 3-D images which let the car “see” how far away an object is…
Even so, cameras have a simple and catastrophic flaw.
Environmental hazards like mud, rain, insects, or dense fog can block their view.
And if the cameras can’t “see” then neither can the car.
In other words, all it takes is a splash of mud, heavy rain, or a rogue “June Bug” splattered on the lens, to make cameras useless.
The other main technology that allows self-driving cars to “see” is radar.
Because radar can track the location and distance of external objects, it sounds like an ideal candidate for self-driving cars.
The technology allows the car to know where it is in relation to other objects.
And radar already comes in a lot of newer vehicles that offer “parking assist” technology.
But there’s a big problem with radar too…
Radar doesn’t produce a clear image for the car to “see.”
In fact, with radar, vehicles, pedestrians, and other objects end up looking like blobs.

You wouldn’t drive your own car without your glasses on…
Would you get in a self-driving car that could only “see” blobs?
Me neither.
To be fair, there have been advances in radar technology.
But as Forbes recently pointed out…

And Tesla agrees.
The electric car maker recently dumped radar for their self-driving car system…

For self-driving cars to “see,” LIDAR is the only answer right now.
The technology creates a 3-D image with high-definition resolution…
Meaning the self-driving car with a LIDAR sensor can clearly see what’s around and behind it…
And just as important, the car can measure how FAR away the object is.
That’s why Barron’s recently reported:

And that’s why the “who’s who” of automakers…
From GM…

To Waymo…

And Volkswagen to Ford rely on LIDAR for their self-driving cars.

Even Tesla, which had initially resisted using LIDAR for its Autopilot self-driving system, seems to have finally begun coming around.

Bottom line: I believe LIDAR is the linchpin technology that makes fully self-driving cars a reality.
Now if LIDAR is the most important technology for self-driving cars…
It begs an important question…
After all, the latest iPad and iPhone come with a LIDAR sensor.

What’s more, Apple has patented LIDAR technology that seems like it could be used for self-driving cars.
Like this patent that’s called…
“Focal region optical elements for high-performance optical scanners”…

And this one that’s called, “Three-dimensional object detection.”

Both could give the idea that Apple is developing its own LIDAR sensor, specifically for the Apple Car.
But I’m convinced Apple will be looking for an outside supplier to get their LIDAR sensors…
Here’s why.
To start, let’s look at Apple’s current LIDAR technology.
The LIDAR sensors in the iPad and the iPhone 12 can help you take better pictures…

Measure your doorway…

And 3-D scan objects.

That’s all fine and good… for your smartphone.
But as Bloomberg put it, “using LIDAR to detect driving conditions and obstacles in the road is a more complicated feat.”
What really puts this argument to rest for me is this recent report from Bloomberg that revealed:

That’s right, Apple is in talks with LIDAR suppliers.
And there are a lot of players to choose from.
In fact, in my last count, there were 55 LIDAR companies.
And I’m sure all of them are champing at the bit to become the key supplier that finally brings the Apple Car to life.
To get an idea of what Apple will likely be looking for from their LIDAR supplier…
I looked at the requirements by other self-driving car companies.
And I’ve narrowed down the three “non-negotiable” criteria that a LIDAR supplier MUST have if they want to work with Apple.
Pay close attention because these are the 3 criteria that could hand you a $190,717 payday.
Let’s break them down, starting with…
With the “eyes” of the Apple Car at stake, it’s fair to assume that Apple will demand a high-performance LIDAR sensor.
So how do you determine if a LIDAR sensor is high-performing or not?
The performance of a LIDAR sensor is judged by:
But it’s not all about performance…
Which brings us to…
One of the biggest hurdles for using LIDAR in self-driving vehicles comes from the fact that these sensors have been insanely expensive… running as high as $75,000.
Apple is all about cutting edge-technology…
But a $75,000 “add on” would put the Apple Car well out of the price range for the average car buyer.
According to Reuters, self-driving car makers want LIDAR sensors that “cost well below $1,000.”
Apple is surely going to require a similar price target from their LIDAR sensor supplier.
Now, after performance and price comes…
Remember that LIDAR sensor that looked like a KFC bucket?

That’s not going to fly at Apple.
Let’s remember that Apple considers itself an innovation and design company.
And in the past, an Apple insider told Reuters that when it comes to LIDAR:

To recap, Apple’s LIDAR supplier must have:
The very same company that could hand you a $190,717 payday.
This is one of the highest-conviction stock picks I’ve ever released.
Because the deeper I dig into this company, the better it gets.
To start off, the CEO is a certified genius.
I know that word gets thrown around a lot.
But to show you what I mean, let me give you a quick rundown on this future “tech titan.”
Why?
Because he already secured $100K in venture capital to make his ambitious dream a reality.
You see, this genius CEO envisioned a future with NO car accidents…
Where 1.3 million lives were spared… each and every year.
Because cars could drive themselves better than any human being.
And his company would make that future a reality.
With the fearlessness only an 18-year-old with $100K in the bank could muster…
He got to work.
Soon, his ambitious vision attracted a team of the top laser experts in the world…
I’m talking about engineers from Lockheed Martin, Northrop Grumman, and NASA.
After 9 years of tireless work, they created a LIDAR sensor unlike anything the world had ever seen.
Out of the 55 companies that have a fighting chance of being Apple’s linchpin LIDAR sensor supplier…
Only ONE stands head and shoulders above the rest.
For starters, when it comes to performance, this company is leaving the competition in the dust:

It wins on range, resolution, and precision.
And with a virtual fortress of 137 patents — more than double its closest competitor — this company could keep that competitive lead for decades.
Which is why other top-tier car makers have already partnered with this tiny company… with names like:
Under their belt already.
But here’s what’s even more exciting.
Car and Driver recently reported that this company’s LIDAR sensors will be available in VOLVO’s new XC90 SUV.
And even better, Volvo recently confirmed:

Bottom line: this tiny LIDAR company has created a true breakthrough LIDAR sensor that could put a fully self-driving car in every garage in America…
(And a fortune in your brokerage account.)
But performance is only the first critical criteria.
What about the price?
In a recent report, this genius CEO said he’s looking to deliver “a [LIDAR] sensor at $1,000… with the goal of making the sensor available for $500.”
That’s right in line with the price target that Apple will likely expect from its LIDAR supplier.
So far this LIDAR company is the clear leader in performance…
And it’s on target with price.
But what really sets it apart is the design.
This is what their LIDAR sensor looks like on top of a car.

It’s sleek and unobtrusive… and barely noticeable…
Which is exactly what Apple is reportedly looking for.
Recently this company released designs for its future LIDAR sensor.
They described it as a halo that wraps seamlessly around the car… giving the vehicle full 360-degree vision.

Look, this company is delivering on performance, price, and seamless design.
Which is why I have no doubts this company is Apple’s LIDAR sensor frontrunner.
But here’s the kicker…
EVEN without a partnership with Apple this stock is on track to be…
I showed you that this company already has existing partnerships with Volvo, Toyota, and Audi…
But that’s only the tip of the iceberg.
Because not only does this company make LIDAR sensors…
They also make the software that tells the self-driving car what to do.
That means this company offers a simple turn-key product for ANY company that wants to make self-driving vehicles…
The perfect offering to profit from the self-driving car mega trend.
And passenger self-driving vehicles are just the beginning.
With a partnership the German truck maker Daimler, this LIDAR company already has a foothold in the $1.6 trillion self-driving trucking industry.
And if that weren’t enough…
They’ve also secured a partnership with Airbus to help develop self-flying aircraft.

The bottom line is this company has its hands in multiple revenue streams with the potential hand early investors HUGE gains.
According to my research, this company is looking at a potential addressable market of $150 billion.
With that kind of money on the table, this stock could erupt.
My projections have this stock taking off on a massive 1,907% run.
That’s enough to turn $1,000 into $19,072.
$5,000 into $95,358.
And $10,000 into $190,717.
Heck even if this company only achieved half these projected numbers, you could still pocket an incredible $90,358 payday.
The point is, this is an incredible company with exceptional technology and ballistic profit potential.
And you’ve seen for yourself today WHY this company is the obvious choice to be Apple’s LIDAR supplier.
It’s a no-brainer.
And remember, this company is so “off the radar” that only 9 analysts out of more than 6,000 are even covering it… for now
Here’s the situation.
Every year, Apple holds several high-profile conferences…
Each with a very specific agenda.
Whether it’s an earnings announcement, the latest operating system for their MacBooks, or even just a chance to show the newest blockbuster gadget…
Whatever the reason…one thing is clear…
When Apple holds an event, the tech world gets whipped into a frenzy… which is why NOW is the time to make your move. Because…
Days from now, in front of a packed crowd, Apple is expected to reveal a slew of new products.
But make no mistake…
I believe any new tech gadgets they release could be just a warm-up for the real surprise at the end of the show.
See, the team at Apple are some of the best showmen on earth….
And like any good showman, they seem to always have one last trick up their sleeve.
At the end of Apple events, just as it seems the show is winding down, the CEO of Apple says…
“But wait, there’s one more thing”.
In fact, it’s so common at Apple events the crowd expects it.
I predict we’re mere days away from the Apple brass introducing the world to the first-ever Apple Car…
In other words: the clock is ticking…
And I’m convinced the best time to take action is NOW.
If you wait for Tim Cook to rip the cover off of the Apple Car… the cat will be out of the bag and your shot at profits could snap shut.
To give you a leg up, I just put the finishing touches on a groundbreaking new report that reveals all you could possibly need to know about this unprecedented, rare, and exceptionally unique LIDAR play.
It’s called Under-the-Hood Profits: Your #1 Pick to Pocket Up to $190,717 from the Apple Car.
This exclusive step-by-step guide reveals all the details you need to know to put yourself in position to profit before Apple’s big announcement.
This report is quick, simple, and easy-to-read…
Just a few clicks and five minutes of your time could be all that separates you from a shot at up to $190,717 in the weeks and months to come.
Regardless of if you’ve been investing for years or are looking to make your first trade. ..
All my research is laid bare for you in my new, in-depth report.
If this report were released to the public, it would come with a $499 price tag…
And it would be a steal at that price…
After all, a single trade on this stock could hand you 20x your money.
But this is an exceptionally rare opportunity more nearly 7 years in the making…
And I want to make sure I help as many everyday Americans stake their claim BEFORE the smart money snaps up the lion’s share of the profits.
Which is why today…
All I ask is you accept my personal invitation to join Radical Wealth Alliance today.
Radical Wealth Alliance is my elite finance research service that only has one goal: To help everyday Americans make as much money from the markets as possible…
By uncovering the best investment opportunities that are ripe for explosive growth.
What’s more…
At Radical Wealth Alliance, my goal is to make it as easy as humanly possible to for average investors to lock in their shot at pocketing MONSTER profits.
That means no sprinting in and out of a thousand positions each day like a maniac whose hair is on fire…
No “giant trades” with a million moving parts…
And no second-guessing, confusion, or doubt.
What you get inside Radical Wealth Alliance are step-by-step instructions to place simple stock trades that could put your nest egg on steroids.
There’s no learning curve…
And minimal effort on your part.
You can rely on me to strip away all the noise…
Point out what actually matters…
And we’ll boil it down into a single, actionable investment that’s set to blast off.
If that sounds good to you then you’re going to love Radical Wealth Alliance.
When you accept this special new member invitation to join Radical Wealth Alliance today…
Not only will you get instant access to your FREE copy my groundbreaking expose: Under-the-Hood Profits…
You’ll also unlock an entire year of access to the Radical Wealth Alliance that includes:
Put simply, you’ll have everything you need to pocket big winners in the months and years to come.
But why stop there?
Today when you join Radical Wealth Alliance…
Starting with…
While I was digging up the dirt on this incredible LIDAR company, I uncovered 3 more stocks that have the potential to pile up profits from the Apple Car, including…
All 3 under-the-radar plays are yours absolutely FREE when you join Radical Wealth Alliance today.
But it doesn’t stop there.
The “New Space Race” is here…
And with a simple move, you could lock in your shot at a potential 1,272% gain.
Here’s the situation.
The tech billionaires are launching thousands of satellites into orbit around the earth.
No joke, Elon Musk wants to send up 42,000.
Jeff Bezos plans to launch 3,236.
And companies like OneWeb, Telesat, Globalstar, Iridium, O3b, and Orbcomm want to send up thousands more.
It all adds up to a surge in the number of satellites circling Earth by the end of the decade.
And it’s opened the door for investors to make a stone-cold fortune…
Not from buying shares in a satellite company…
But from an obscure “miracle metal” buried deep under American soil.
In this BONUS report, you’ll discover…
This report is valued at $449.
But I’d like to send it to you for FREE.
And just to make sure you hit the ground running…
In the blink of an eye, the COVID-19 pandemic changed everything — especially how we PAY for things. Cash is no longer king with consumers preferring mobile cashless payments more than ever before.
And there’s ONE company ready to grab the lion’s share of this $41 billion MEGA trend.
This company already secured a partnership with Mastercard AND every mobile payment giant including Apple, Alphabet, Samsung, and JP Morgan Chase.
With a stock price under $20, to say this stock has room to run is an understatement.
But if you want in on the potential profits you better act fast. Growth projections show this company is ready to launch into orbit.
In this FREE report, you get all the details you need to lock in your shot at the profits before this stock blasts off.
All in all, your insane bundle of bonus gifts stacks up to $1,347 in valuable reports…
Yours “on the house” when you join Radical Wealth Alliance today.
If it isn’t obvious yet…
I’m pulling out all the stops to help you make as much money as humanly possible.
But in the spirit of making this decision a complete no-brainer…
I’ll even go one step further.
Access to myself as well as the entire team at Radical Wealth Alliance is an incredible opportunity…
One that my publisher has asked up to $5,000 for.
And frankly, even at that price it’s a massive bargain.
But today, as a part of this special new member offer, you won’t pay anywhere near $5,000.
I’m not even asking $3,000… or even $2,500
When you accept my invitation and join me inside Radical Wealth Alliance today, you’ll get an entire year of access for just $1,497.
That’s an incredible 70% discount!
Or a little over $4 per day.
Think about that for a moment…
For less than most people spend on their daily coffee…
You’re about to lock in your shot at piling up massive gains and pocketing huge profits… for an entire year.
To lock in today’s special new member pricing, click the button below now.
(Your credit card will NOT be charged... and you can review ALL of your order details)
I do need to make one thing clear before we go any further… there are no refunds when you join Radical Wealth Alliance.
I'm sorry if that seems harsh.
But my experience has been that the folks who have the most success with our research are the ones serious enough to put some real skin in the game...
And are ok with the fact that all sales are final.
But if you have even the LEAST bit of doubt about joining me today...
I have one last thing that I believe will help you overcome any last-minute jitters.
Today when you join Radical Wealth Alliance...
When you secure your new membership in the next few minutes, this is my promise to you:
If you don’t see the opportunity for 500% gains over the next 12 months…
I’ll give you another year of Radical Wealth Alliance "on the house."
So, here’s how our guarantee works…
Over the next 365 days, if our model portfolio doesn’t show you gains of at least 500%...
Simply give our VIP concierge a call or shoot them an email to let us know…
And we’ll give you a second year’s membership absolutely free.
Yes, you read that correctly.
If we only deliver total gains of 499%...
We’ll work for you for a second year… absolutely free of charge.
No questions asked. No hoops to jump through.
And you’ll still get to keep EVERYTHING you got today as part of your new member’s package.

(Your credit card will NOT be charged... and you can review ALL of your order details)
I do need to warn you… if you want in on this opportunity, there isn’t a second to waste.
If you put this off for even a day you could find yourself locked out… because this massive discount is available on a first come first served bases and unfortunately...
I wish it could be more.
But that’s all my publisher will allow at this insane discount.
So, we're only opening 100 new member spots today…
And considering you have a very real shot at pocketing up to 20x your money… enough to turn every $10,000 into 190,717…
I don’t expect these spots to stay open long.
Are you in?
(Your credit card will NOT be charged... and you can review ALL of your order details)
When you join Radical Wealth Alliance today, you’ll get access to the most explosive investment opportunities...
Delivered directly to your inbox... for a full year!
Bottom line: Right here, right now you have the chance to profit wildly from the most explosive stock market opportunities.
A year from now, you could look back on today as the turning point for you and your family’s finances.
The alternative is you walk away today empty-handed.
A decision I'm afraid that you'll live to regret.
With this incredible 70% discount...
Plus $1,347 in bonuses...
And the potential to rake in up to $190,717 off of a single stock, on the line…
Why risk letting this opportunity pass you by?
Remember, there are only 100 spots open today.
And when they're filled this special new member offer snaps shut.
Don’t miss out.
Click the button below to join Radical Wealth Alliance NOW.
(Your credit card will NOT be charged... and you can review ALL of your order details)
To your wealth and health,

Jim Pearce
Chief Investment Advisor
Radical Wealth Alliance
Copyright © 2021 Investing Daily, a division of Capitol Information Group, Inc. In order to ensure that you are utilizing the provided information and products appropriately, please review Investing Daily’s’ terms and conditions and privacy policy pages.